微信推出微信豆,此前腾讯曾申请“微信豆”商标
2020-12-24 13:35:51
来源:
新浪科技讯 12月24日上午消息,新浪科技注意到,iOS端微信更新到了7.0.20版本,同时,个人资料页多了一个“微信豆”,是用于支付微信内虚拟物品的道具,可以在视频号直播中购买虚拟礼物。想要获得微信豆,必须进行充值。

据IT之家报道,价格方面:7个1元、126个18元、350个50元、896个128元、2086个298元、3626个518元。

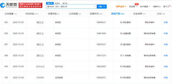
天眼查App显示,此前,,腾讯科技(深圳)有限公司新增多条“微信豆”商标信息。商标申请时间为2020年10月29日,国际分类涉及金融物管、通讯服务、网站服务等,商标状态为“商标申请中”与“等待实质审查”。
相关阅读
- 2022-09-29业绩长期稳定增长盈利能力强 13家公司十年平均股息率超5%
- 2022-09-29新能源汽车行业步入“快鱼吃慢鱼”阶段,促使业内巨头加速扩产“充电”。9月28日晚间,宁
- 2022-09-299家公司“一夜”豪掷超720亿元 新能源汽车产业链扩产“充电”
- 2022-09-26人民日报海外版:中国稀土集团资源科技公司揭牌
- 2022-09-26“暂停新增券商系统反采”系误读,31家公司限售股将解禁…重要消息还有这些
- 2022-09-26又见更名!这家公司将变身为“方大新材”,今年还有82家北交所、新三板公司换“马甲”
- 2022-09-19甘谷供电公司:机器人平台 让民众办电更便捷
- 2022-09-19优化营商环境 | 会同县供水有限责任公司:主动服务持续发力
- 2022-09-19社会领域团建再添新活力!临空集团团委、湖南顺丰团委正式成立
- 2022-09-14提前布局!公募基金掘金上市公司三季度业绩,看好这些方向



