滴滴申请“滴滴货运”、“滴滴自驾”、“小桔租车”等商标
2020-12-08 11:46:09
来源:

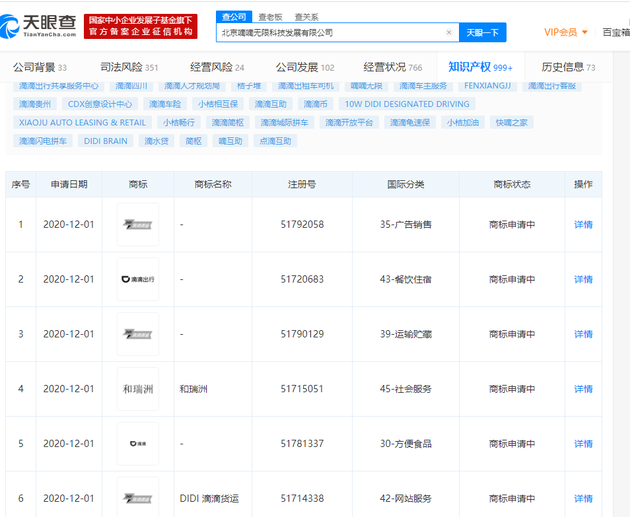
新浪科技讯 12月8日上午消息,天眼查显示,近日,北京嘀嘀无限科技发展有限公司新增多条商标申请,商标名称包括“滴滴自驾”、“小桔租车”、“滴滴货运”、“滴滴开放平台”等,国际分类含网站服务、广告销售等,目前商标状态均为商标申请中。
相关阅读
- 2022-09-29市领导深入汤阴调研指导“五星”支部创建及安全生产工作
- 2022-09-29数字新机遇 跨境新业态 | 昌黎龙工场跨境电商产业园正式开园
- 2022-09-29我县举行2022年第四批样板村观摩拉练活动并召开农村人居环境整治提升观摩评比擂台赛工
- 2022-09-26发力产业集群 打造高质量发展增长极
- 2022-09-26各地紧抓特色产业提质增效 扎实推进乡村振兴
- 2022-09-26以智能制造推动产业升级
- 2022-09-21东山红提“串”起乡村振兴致富梦
- 2022-09-21隆回县财政局:“五项工程”激活驻村帮扶活力
- 2022-09-21紫阳(高新区)派出所出重拳快速打击一起破坏营商环境案
- 2022-09-19中国乡村发展志愿服务促进会到宿松调研木本油料产业发展工作



